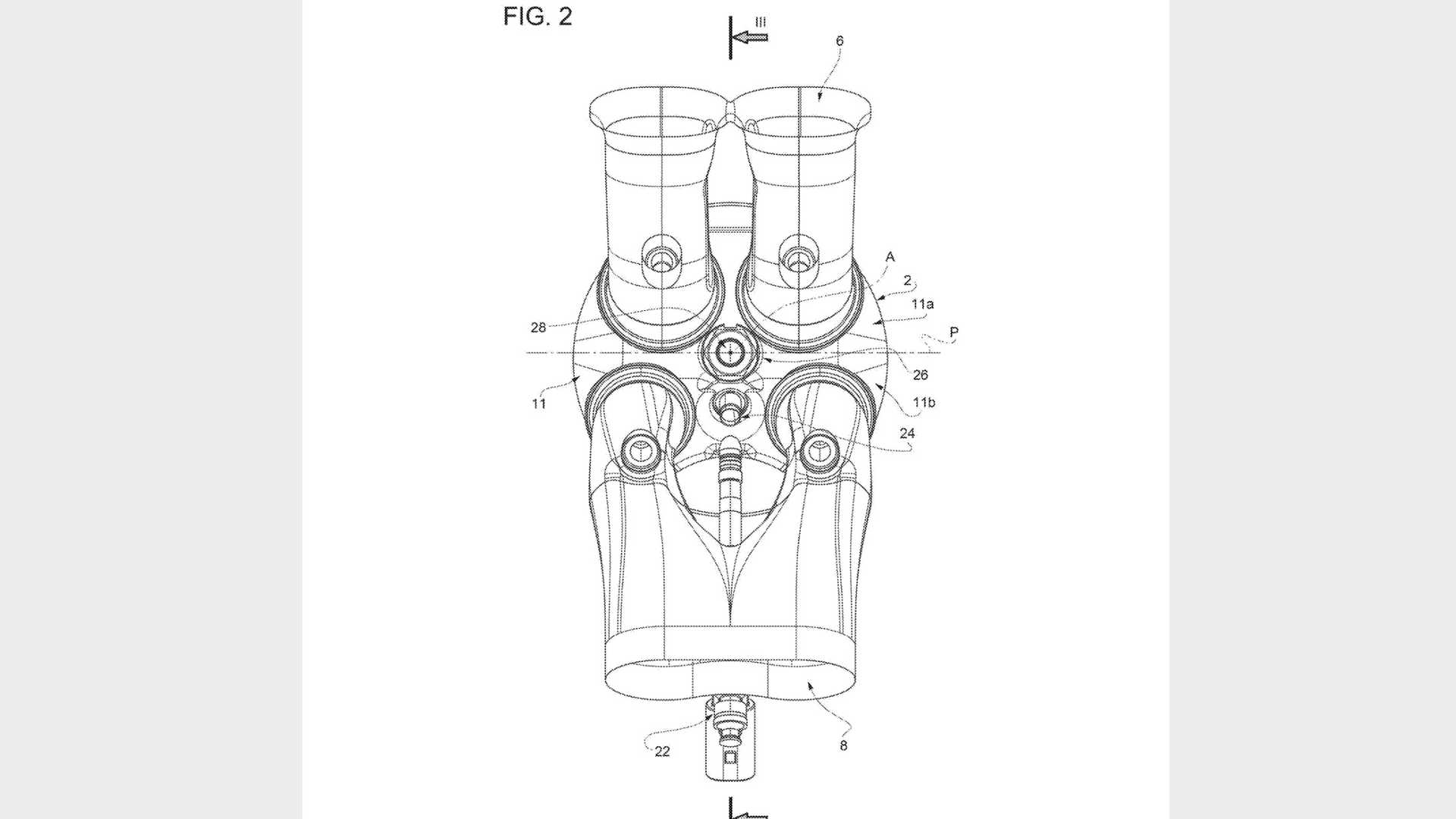
Ferrari has filed a patent with the United States Patent and Trademark Office for a new V12 engine that should be more efficient than the company’s current twelve-cylinder powertrains.

In the patent, Ferrari explains how two different combustion methods could improve the efficiency of the engine. The first sees a small amount of fuel injected just before the spark plug ignites to create a hotter air-fuel mixture that will allow the catalytic system to rapidly gain heat at engine start-up, reducing emissions during this phase.

Also Read: Is Ferrari Bringing Back The Targa? Patent Application Suggests So

Ferrari’s second solution sees a pre-chamber fitted above the main combustion chamber, from which it is separated by wall and communicates through one or more free connection ports and has a second set of spark plugs “for cyclically and selectively determining the ignition of the mixture present in the pre-chamber and triggering the combustion reaction”.

In September, Ferrari said it will “fight” to keep its 6.5-liter naturally aspirated V12 engine around. It was recently forced to modify it to comply with Euro 6 regulations and was able to do so in such a way that the Euro 6-compliant engine of the 812 GTS produces the same 789 HP as the hardtop.

Interestingly, Ferrari appears hesitant to hybridizing or downsizing its V12 despite the fact that most other manufacturers have already embraced both in order to comply with new emissions regulations.

“A naturally aspirated V12 engine is not a downsized engine, and for me it doesn’t make sense as a hybrid. We will fight for the V12, of course. We will do everything we can to keep it as it is core to our brand. But a real hybridization of the V12? I don’t see it,” Ferrari technical chief Michael Leiters told Top Gear earlier this year. “The LaFerrari was hybridization for performance. In the future, we’re being forced to look at emissions and if you want to really utilize the CO2 benefit, you have to downsize.”