Tesla has patented an innovative new way to heat and cool car seats, Car and Driver reports.
Heated and cooled seats aren’t a new invention. Usually, the heated function of a car seat works thanks to a host of resistors that heat up when an electric current is passed through them. Vehicles with cooled seats – that also require perforated upholstery – use fans to blow air out of the seat. Tesla thinks things can be done differently.
Also Read: Driven: 2019 Tesla Model 3 Performance Is Charged With Appeal
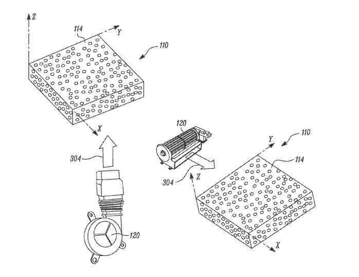
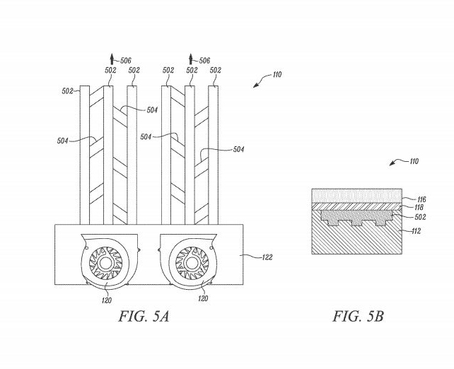
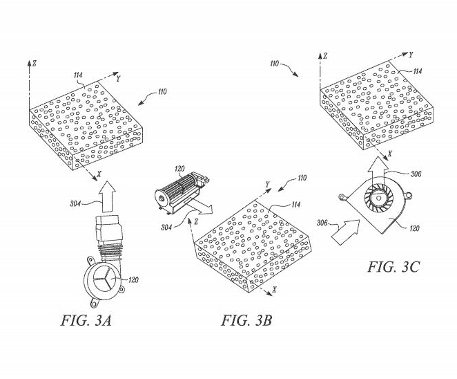
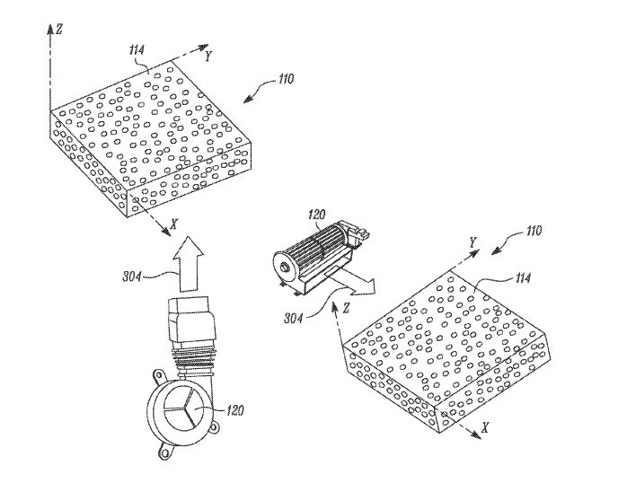
A patent from the electric car manufacturer reveals how heated and cooled seats could feature a layer of fluid under where an occupant sits that is surrounded by another layer to contain this fluid. Also found within this intermediate layer is a heating and cooling element as well as a small pump that sends the heated or cooled fluid around the seat.
The patent doesn’t describe what kind of fluid could be used but Car and Driver suggests it is most likely to be some kind of aqueous gel. It also remains to be seen what kind of element will be used to heat and cool the seat. Detailed in the patent are a number of measures to ensure the system wouldn’t spring a leak, including supports that ensure proper flow throughout the system.
No mention is made in the patent as to whether or not such a system will find its way into the production line but considering Tesla’s penchant for doing things a little differently, it certainly wouldn’t be a surprise to see such a system in Tesla vehicles in the future.







