A few months after it was revealed that Porsche and Boeing will look to make a flying car, a patent filing from the German car manufacturer has surfaced online showing what this flying vehicle could look like.
The patent, uncovered by the Taycan EV Forum, was filed with the United States Patent and Trademark Office on July 2, 2019 and published on January 9, 2020. It details a flying vehicle capable of vertical take-off and landing (VTOL) and includes a series of basic drawings.
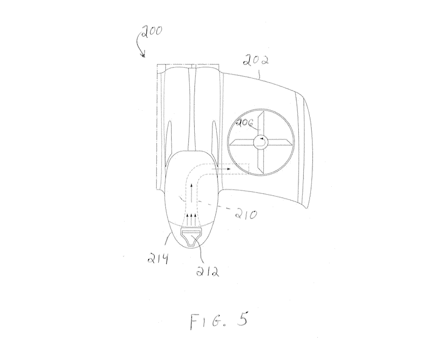
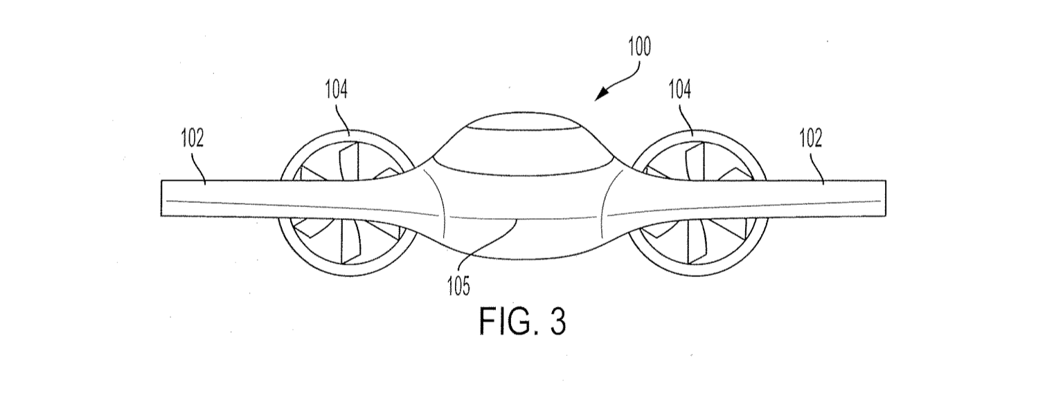
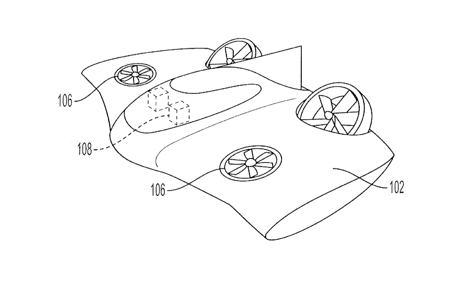
The vehicle depicted features four large propellers. Two of these propellers face downwards to provide upwards (or downwards) thrust while a set of larger fans are found at the rear, which can also point down to get the vehicle off the ground and then pivot 90 degrees to send the VTOL aircraft forward. A small cabin with seating for two people is also clearly visible.
Related: Boeing’s Autonomous Flying Car Makes Maiden Voyage For 60 Seconds
“Instead of free-moving rotors, a plurality of ducted fans, including of different sizes, may be used to drive the aircraft, as are known outside of the aerospace industry, for instance for hovercraft or fanboats,” the patent describes.
The patent also describes the aircraft as being all-electric.
As part of the memorandum of understanding signed by Porsche and Boeing, the two companies will “explore the premium urban air mobility market and the extension of urban traffic into airspace.” The two companies have confirmed they are developing an electric vertical takeoff and landing vehicle but are only referring to it as a concept, and it is yet to be confirmed if the VTOL aircraft depicted in these patents is this concept.






