A new set of patent drawings published in a Japanese blog and brought to our attention by Jalopnik, suggests that Mazda could be working on a sportscar that looks like a production version of the RX-Vision concept from 2015.
Since the reveal of the stunning concept that was hinting at a possible return of the rotary engine, rumors and reports about its development have been contradicting each other. In 2020, the Japanese company revealed the RX-Vision GT3 Concept for Gran Turismo, but this digital-only racecar could be nothing more than a gift to automotive enthusiasts in the gaming community.
Today, while Mazda has confirmed the use of a rotary engine as a range-extender for the electric MX-30, there is still no word on a possible sportscar for production.
See Also: New Mazda RX-Vision GT3 Concept Revealed As A Gran Turismo-Only Rotary Monster
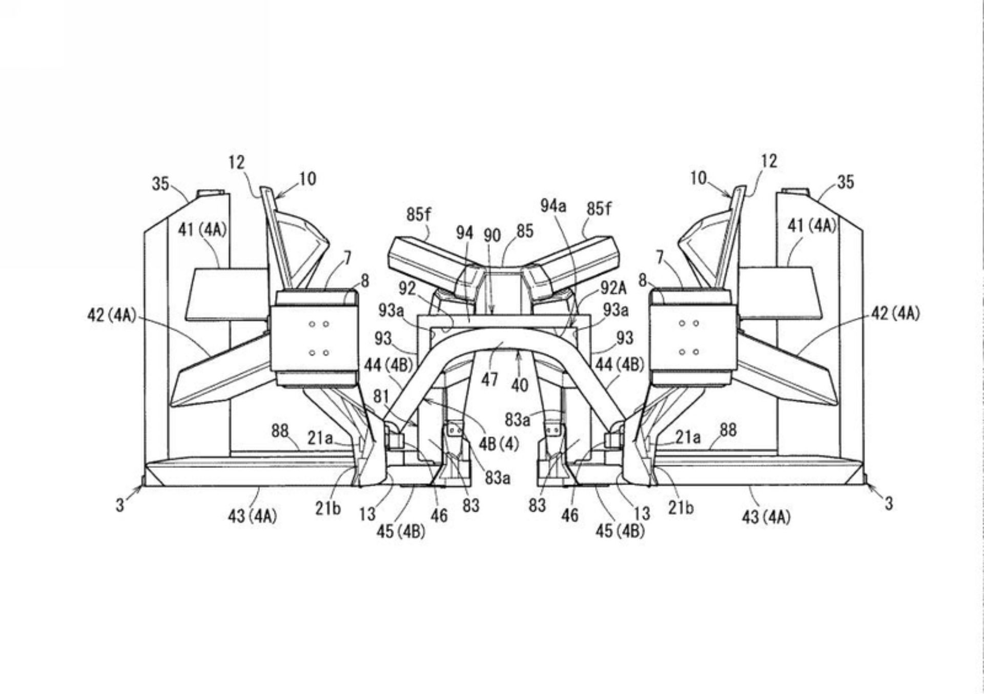
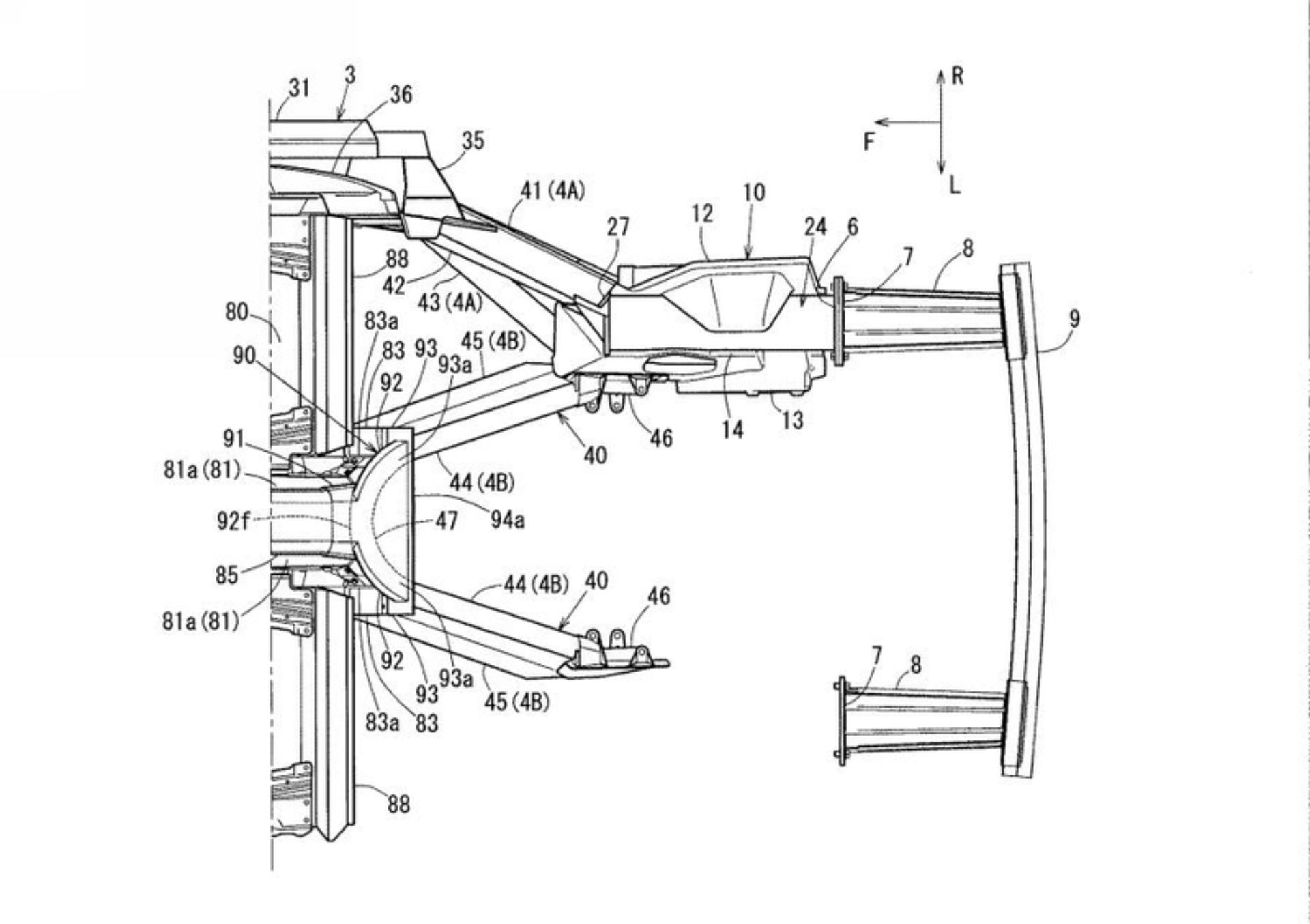
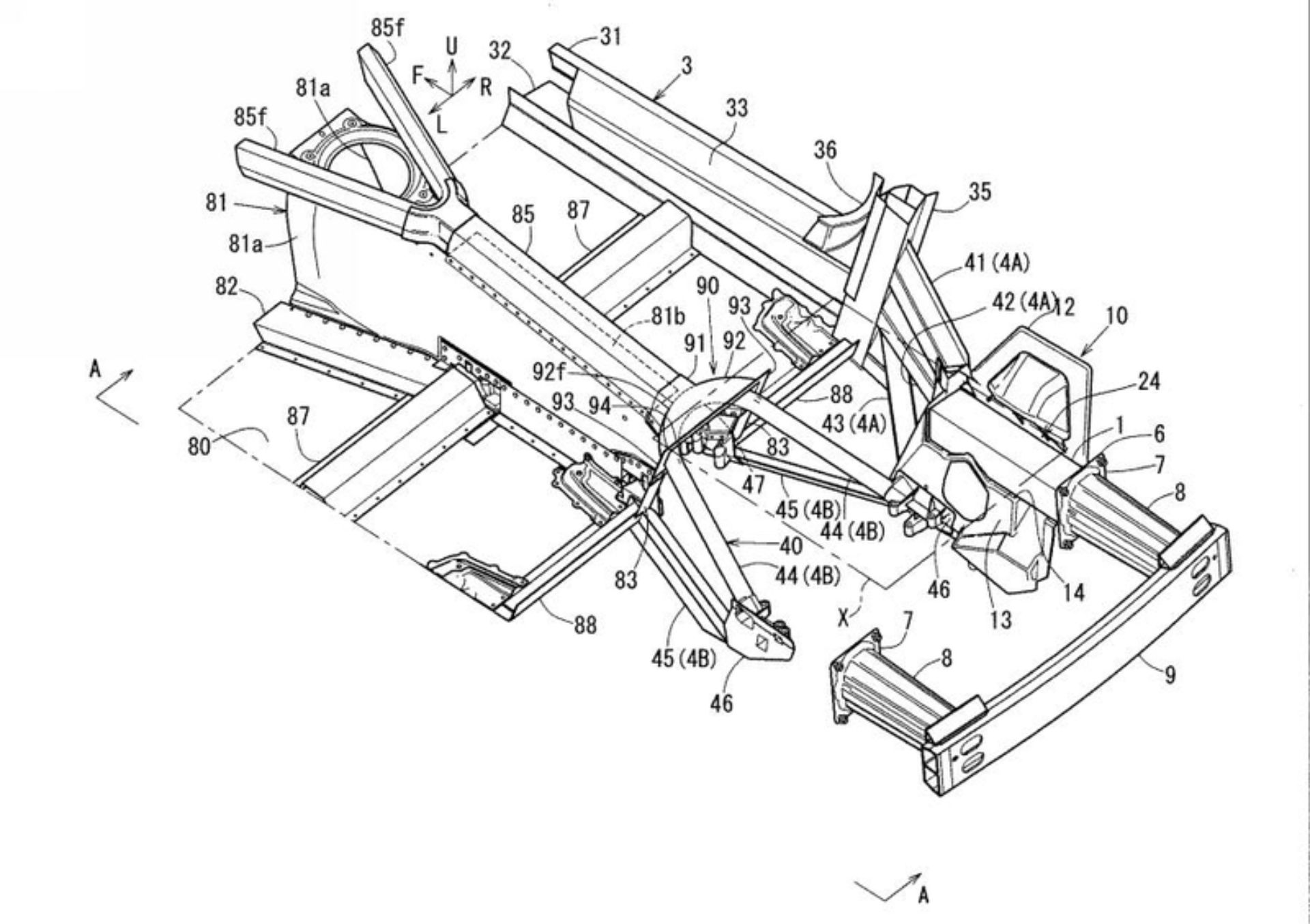
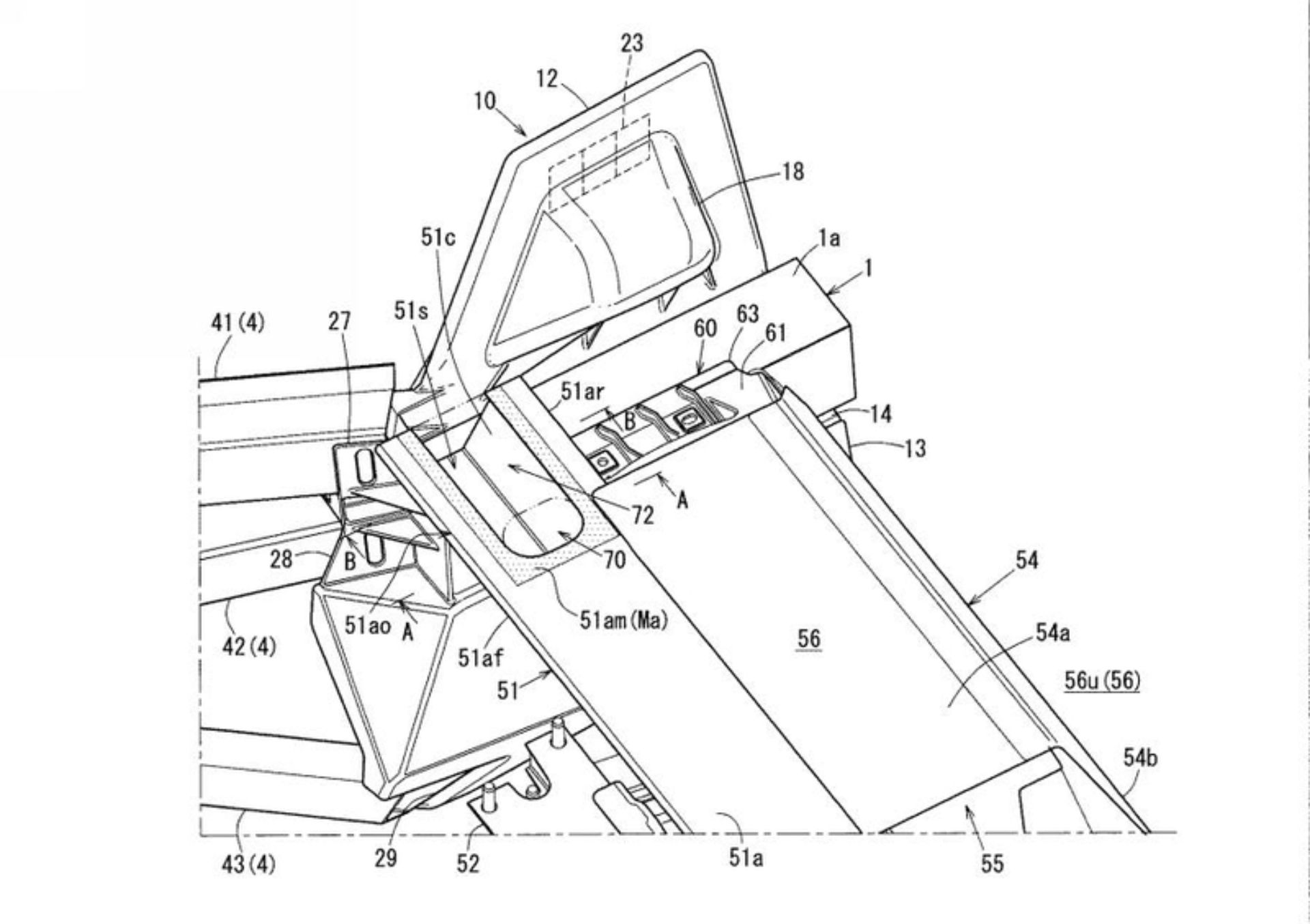
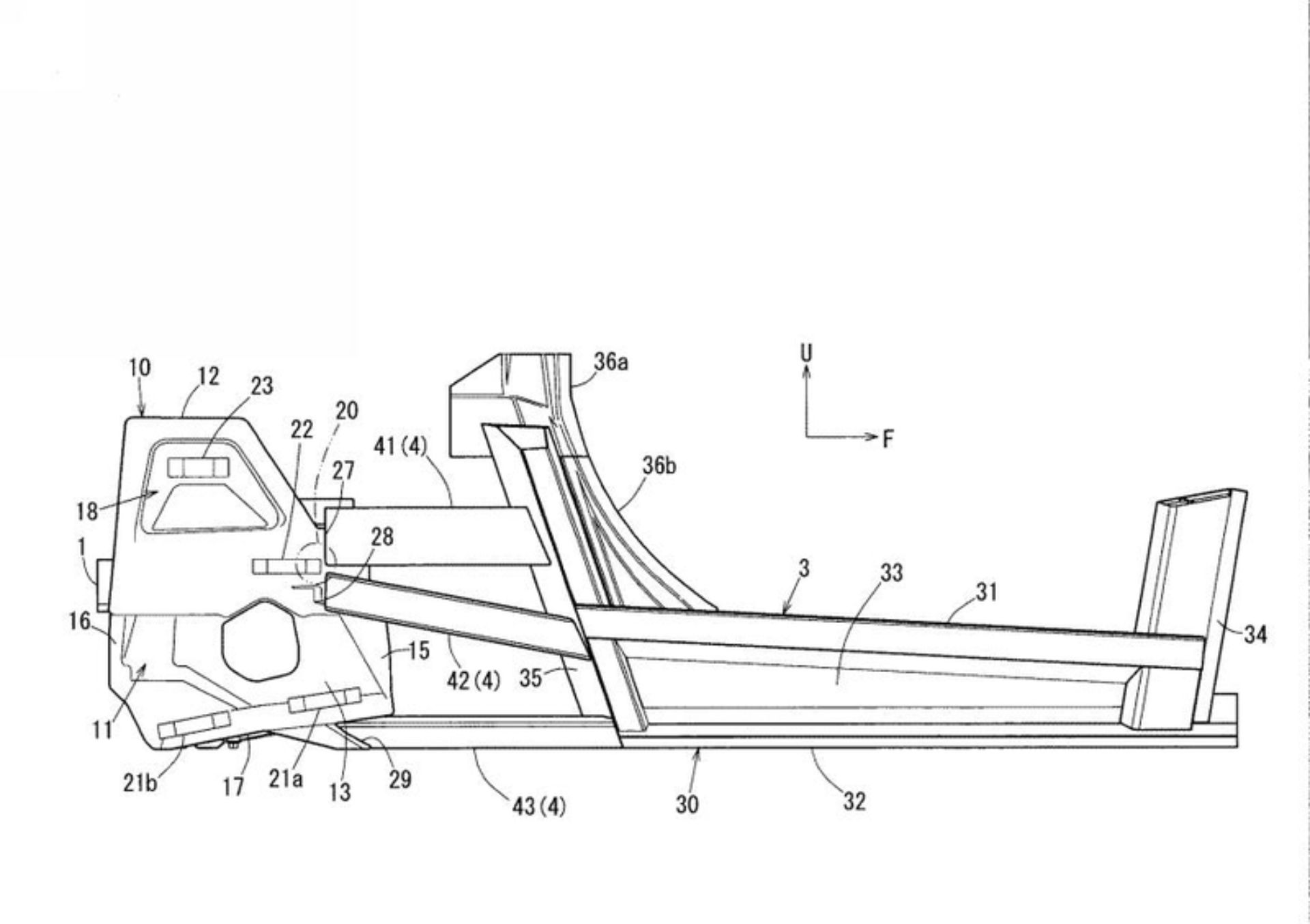
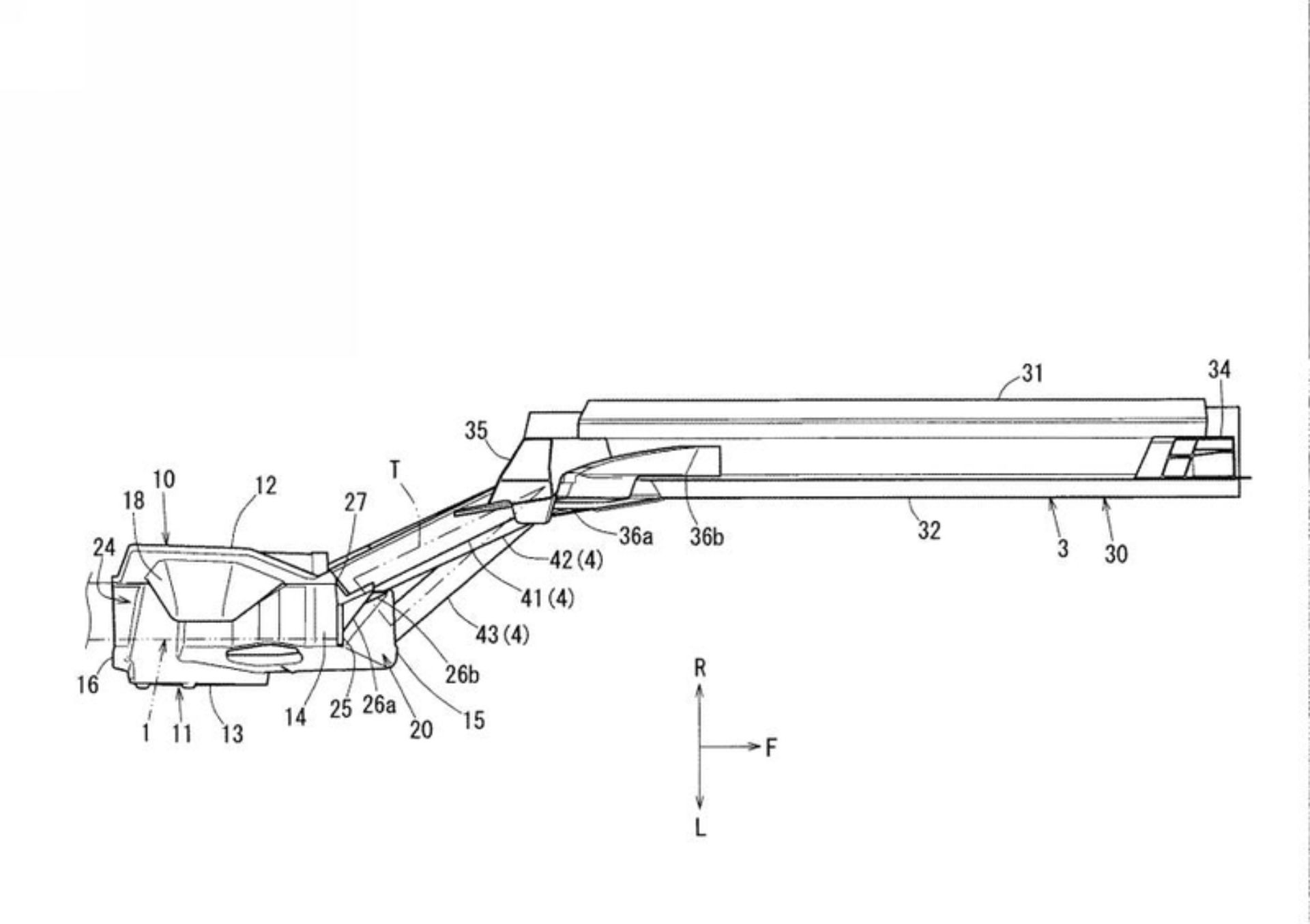
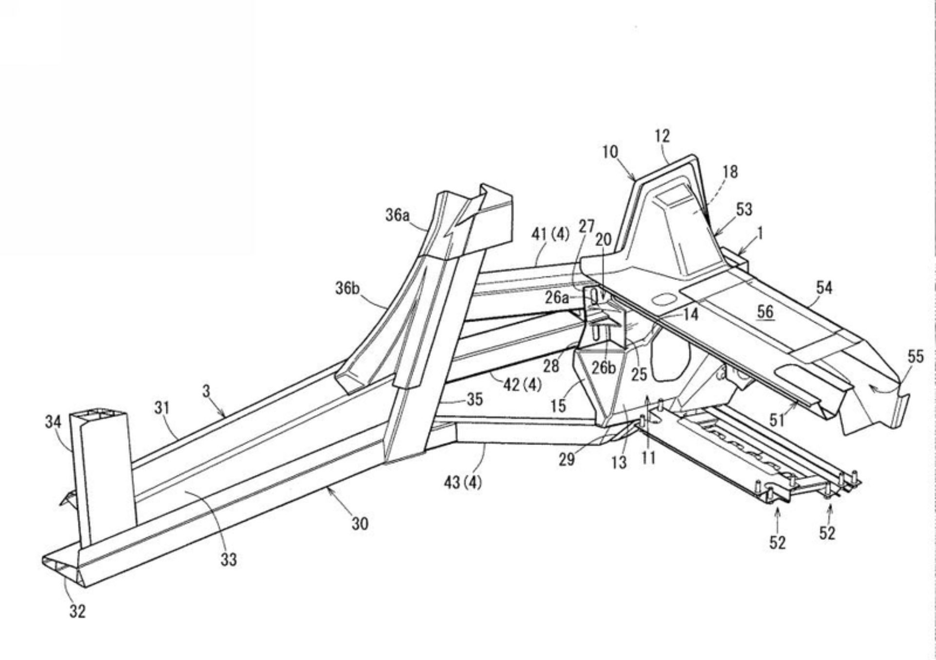
The only hints for a production model that could serve as the successor for RX-7 (1978-2002) and RX-8 (2003-2012) of sorts, come from patent drawings. The latest set that went public a few days ago doesn’t show any indication for rotary power, but details a new space frame made of aluminum for a sportscar with a two-door coupe bodystyle.
One of them, in particular, shows the side and rear body panels of the car which look identical to the RX-Vision. Another one from last week shows a rear structure with a glass trunk resembling the RX-7 and wide fenders, while drawings from 2019 hinted at a two-seater cabin with a low seating position.
Read Also: Mazda Files Trademark For An ‘R’ Badge, Is It Planning New Performance Models?
The rest of the patent drawings have to do with details of structural elements, focusing on the rear suspension. While it is common for manufacturers to trademark engineering solutions for future use, the level of detail in the chassis and energy-absorbing structures of this RX-Vision based model makes us believe there could be more to the story.
Traditionally, the RX model line is associated with rotary power but in today’s world, it is probably too optimistic for Mazda to develop a Wankel motor just for one low-production vehicle. In this context and according to reports from last year, the hypothetical flagship coupe could use the company’s forthcoming inline-six turbo with Skyactiv-X technology – though, in this case, it wouldn’t or shouldn’t use the RX moniker.
Another option would be to use electric power with a rotary engine as a range-extender, just like the aforementioned MX-30, which could justify the RX name. Considering that we are in the 2020s, some short of electrification seems inevitable in order to keep up with the emission regulations and make it future-proof.
Read Also: New Mazda RX-9 Sports Car Could Feature Inline-Six Turbo, Not A Rotary
In any case, a front-engined, rear-wheel-drive sportscar wouldn’t look out of place in Mazda’s current range. It could work as a flagship grand tourer targeting rival models like the Toyota GR Supra and the Nissan Z, combining sportscar levels of performance with a stunning exterior design and premium materials in the cabin. Let’s hope there will be some official announcements in the near future.


















