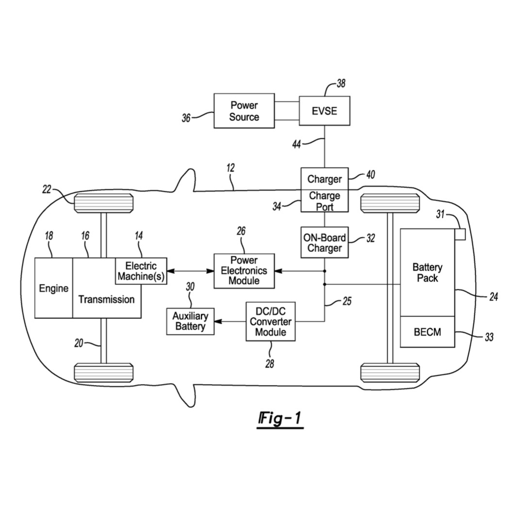
A patent filed by Ford back in August of 2020 has just surfaced and it could make charging an electrified vehicle a hands-free affair. Published by the United States Patent Office on March 3 of this year, the patent seems to apply to both plug-in hybrids and fully electric vehicles.
It should be noted that this is nothing like a drive-over charging pad which we’ve seen in other facets of the automotive industry. Those types of chargers aren’t too different from the wireless ones many of us use with mobile devices. If you’ve ever done that you’ll know that devices charge much slower than when they’re connected to a physical cord.
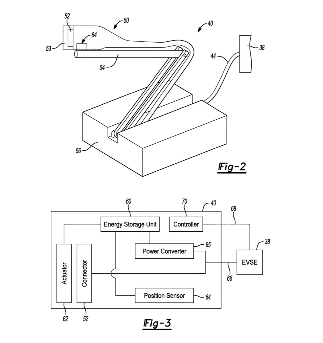
That might be why this patent is focused on a device that would still use the factory charge port and what sounds like a fairly conventional charger. It would basically connect the two for you instead of requiring a person to do the job.
Related: WiTricity’s Aftermarket Wireless Charging System To Launch Later This Year
This is eerily similar to the autonomous robotic charging snake that Tesla teased years ago. Of course, that never became a real product so we don’t have a crystal clear idea of what a production version of this technology might look like.
The few figures included in the patent filing, no.20220063430, don’t give us much to go on aside from the idea that it might fold out from a normally compact position. It would surely make charging a little easier for drivers if the car could simply be parked in a garage or at a station and essentially connect itself to the charging source.
We also know that as electric vehicles become more prevalent, manufacturers and those in the business of infrastructure are working on charging solutions. Michigan has greenlit a new Inductive Vehicle Charging Pilot program that will see a full mile of road with wireless charging capability built-in. Indiana is also working on a similar program, while Volvo is testing wireless EV charging in Sweden.





