Ford showed a Bronco prototype to dealers last month and they recently confirmed the highly anticipated model will have removable doors like the Jeep Wrangler. Now Automobile Magazine has come across an interesting patent which shows how they might work.
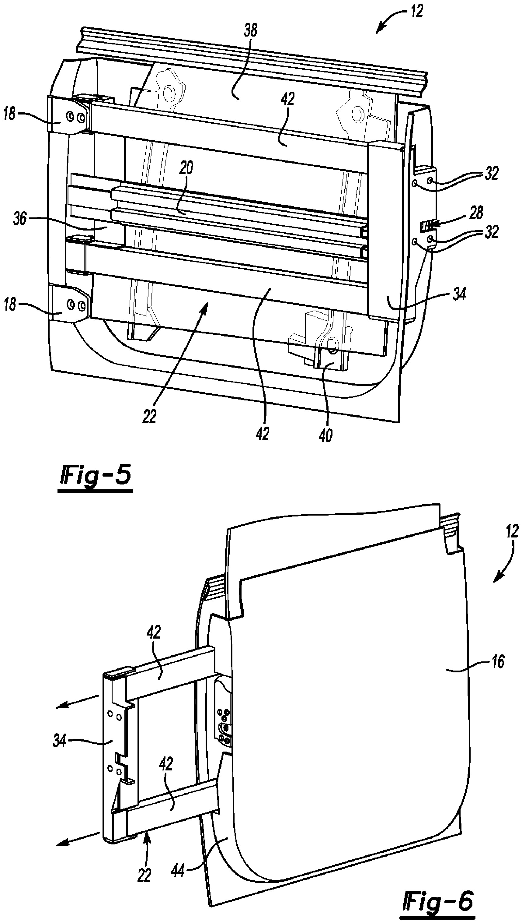
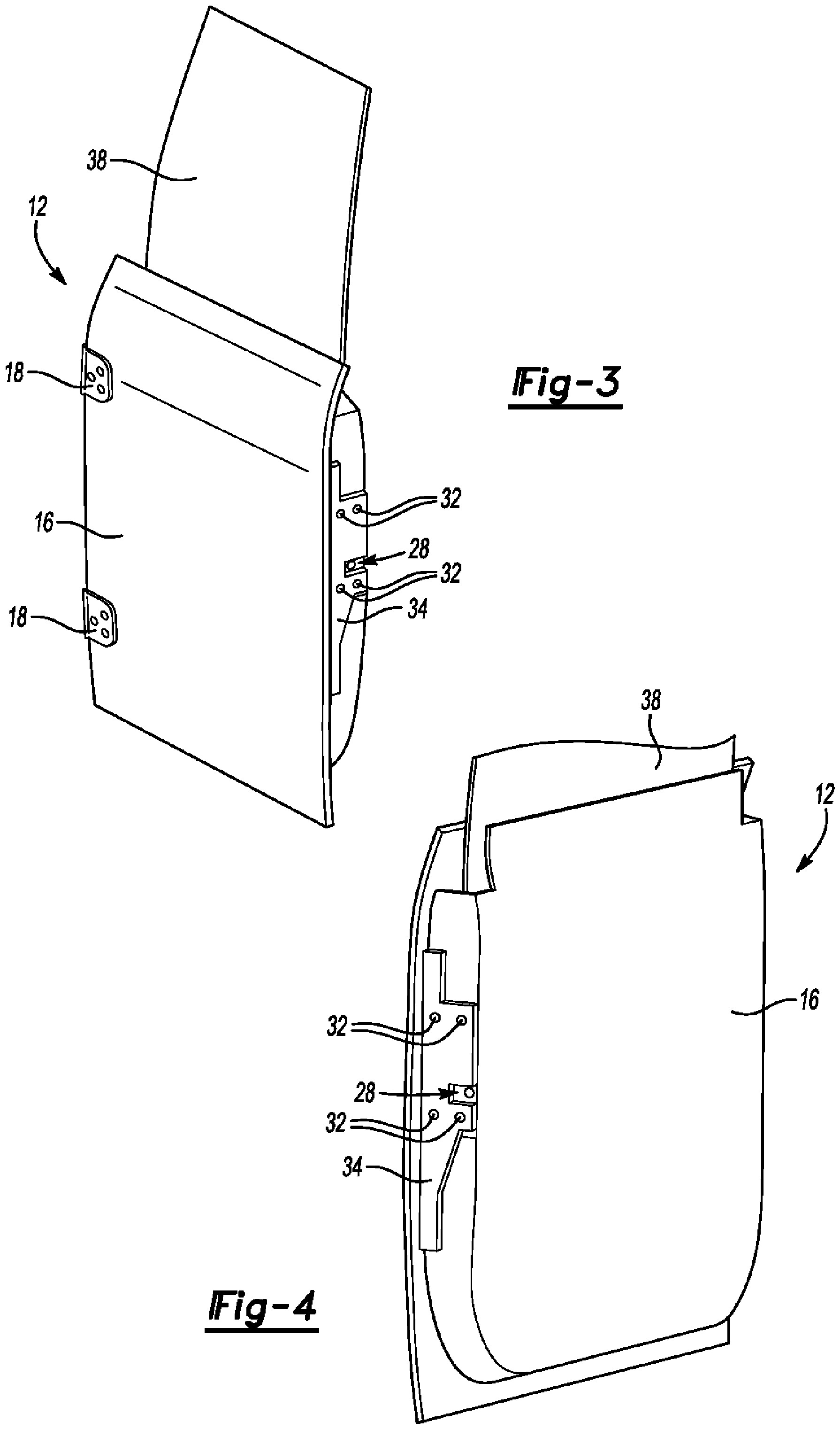
Filed by Ford Global Technologies, the patent hints at removable doors which feature integrated tubular doors. The latter would allow drivers to enjoy an open air experience while still having added crash protection.
According to the patent, the impact beams integrated into the full door can be removed once the door it taken off the vehicle. The impact beams can then be reinstalled on the vehicle where they act like tubular doors.
This is an interesting design feature as owners would essentially get two doors in one. It would also spare drivers the hassle of buying a separate set of tubular doors and then having to store them during the winter.
There’s no guarantee these innovative doors will be installed on the upcoming Bronco, but it’s an interesting possibility. Regardless, reports have said the model will have removable doors and a hard top which can be stored in the cargo compartment.
Ford hasn’t said much about the model, but it will reportedly be launched in late 2020. Previous reports have also suggested the Bronco will have a retro design with round headlights and a rectangular grille featuring prominent “Bronco” badging. The vehicle’s side mirrors have also been mounted to the A-pillars, so they’ll remain in place once the doors are removed.







